ŚWIATŁO OSŁONY PASA
Światło Siderow na lotnisku w Chinach,
Światło poprzeczne lotniska w Chinach,
Łamliwy kołnierz lotniska w Chinach,
Światła końca pasa startowego lotniska w Chinach.

Światło ochronne pasa startowego: system oświetlenia używany do ostrzegania kierowców samolotów lub pojazdów na drodze kołowania, że zaraz wejdą na używany pas startowy (światło boczne na lotnisku w Chinach, cena precyzyjnego światła na nachylenie, tanie światło na lotnisko Siderow, światło poprzeczne na chińskim lotnisku, światło na środkową linię pasa startowego w Chinach).

| STANDARDY PROJEKTOWANIA |
| CAAC: AC-137-CA-2015-03-R1 |
| SAC: GB/T 7256-2005 |
| ICAO: Załącznik 14, tom 1 |
![]() |
| CECHY |
| ●Konstrukcja lamp jest ściśle zgodna z wymaganiami technicznymi CAAC: „Wymagania techniczne i specyfikacje badań dotyczące lamp pomocy nawigacyjnej na pasie startowym i drodze kołowania w cywilnych portach lotniczych” (AC-137-CA-2015-03-R1); |
| ●Długa żywotność, oszczędność energii i-bezobsługowość diod LED przynoszą korzyści ekonomiczne; |
| ●Wysokowydajny-obwód korekcji współczynnika mocy, skutecznie redukujący zakłócenia w sieci zasilającej; |
| ●Dwu-kanałowy tryb przełączania-wysokiej częstotliwości Obwód stałoprądowy LED LED, niezależne przyciemnianie dwóch-kanałów; |
| ●Wysoko-precyzyjne cyfrowe przyciemnianie doskonale symuluje krzywą ściemniania źródeł światła LED; |
| ●Profesjonalna metoda rozpraszania ciepła LED może skutecznie obniżyć temperaturę roboczą koralików lampowych i sterownika oraz zapewnić długą żywotność diody LED; |
| ●Zastosuj kondensatory elektrolityczne o wysokiej temperaturze 125 stopni i-długiej żywotności, aby poprawić stabilność zasilania diod LED; |
| ●Zapewnij funkcję wykrywania usterek sterownika i przerwy w obwodzie obciążenia, odłącz uzwojenie wtórne transformatora izolującego, gdy wystąpi usterka; |
| ●Miga od 45 do 50 razy na minutę, a źródła światła LED w lampie emitują światło naprzemiennie; |
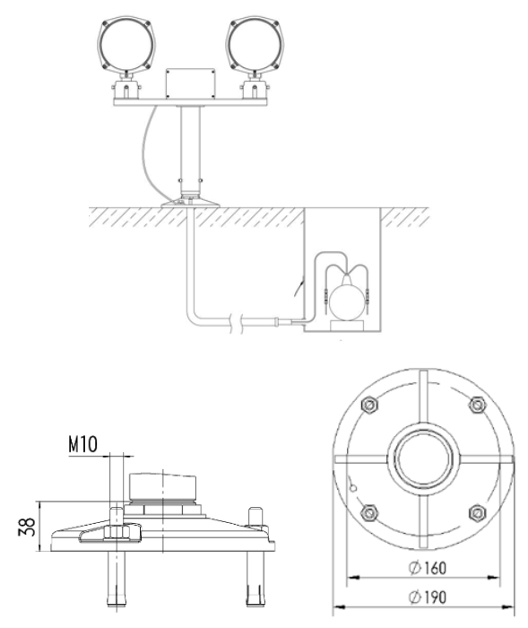
| ● Ogólna konstrukcja lampy jest zwarta, ma piękny wygląd, jest niewielka w obszarze nawietrznym i charakteryzuje się dużą odpornością na wiatr (wytrzymuje prędkość wiatru 480 km/h); |
| ●Sterownik jest oddzielony od głowicy lampy, aby zapobiec wpływowi wysokiej temperatury generowanej przez źródło światła na sterownik; |
| ●W przypadku awarii dowolnego źródła światła pozostałe źródła światła mogą nadal migać normalnie; |
| ●W przypadku awarii płyty sterującej źródło światła pozostaje włączone; |
| ●Konstrukcja osłony głowicy lampy może skutecznie zapobiegać oślepianiu pilota światłem padającym pod określonym kątem; |
| ●Główny korpus lampy wykonany jest ze stopu aluminium, a powierzchnia jest zabezpieczona-antykorozją, która jest lekka, mocna i ma dobre-działania antykorozyjne; |
| ●Ogólny stopień ochrony oprawy osiąga poziom IP65, co zapobiega przedostawaniu się kurzu i deszczu do wnętrza oprawy; |
| ● Szklana osłona wykonana jest ze specjalnego hartowanego szkła, co zapobiega jej pęknięciu na skutek drastycznych zmian temperatury; |
| ●Elementy złączne wykonane są ze stali nierdzewnej, która jest trwała; |
| ● Kruche części są przetwarzane poprzez precyzyjną obróbkę i spełniają wymagania CAAC i FAA, a działanie jest stabilne i niezawodne; |
|
● Komponenty są zaprojektowane modułowo i są uniwersalne oraz łatwe w wymianie.
|
Popularne Tagi: światło ochronne pasa startowego, Chiny, dostawcy, producenci, fabryki, dostosowane, tanie, niska cena




